銅轉接頭(彎頭)

什麼是銅轉接頭(彎頭)?
銅接頭是一種接頭,主要作為兩個零件連接在一起的零件。
銅轉接頭適用於燃料、水、油和天然氣、製冷、儀表和液壓系統中低壓管道應用或管路連接。
彎頭管件用於將管道的方向改變90度或其他角度。可根據管道佈局和空間限制,選擇所需角度的彎頭接頭。
銅轉接頭(彎頭)的用途
可用於黃銅、銅和鐵管連結。
規格
| 材質 | 黃銅 |
|---|---|
| 最高使用壓力(MPa) | 1 |
| 適用流體 | 水、空氣、油 |
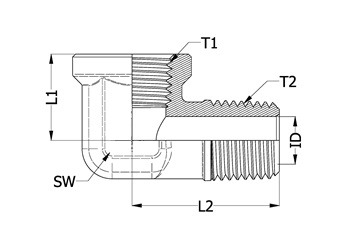
主要尺寸圖
90°內外牙彎頭

| 型號 | 內管牙 T1 | 外管牙 T2 | L1 (mm) |
L2 (mm) |
SW (mm) |
ID (mm) |
|---|---|---|---|---|---|---|
| N-A06-L101 | 1/8" | 1/8" | 15 | 20 | 14 | 5.5 |
| N-A06-L201 | 1/4" | 1/8" | 14.5 | 22 | 17 | 5.5 |
| N-A06-L202 | 1/4" | 1/4" | 14.5 | 24.8 | 17 | 8 |
| N-A06-S203 | 1/4" | 3/8" | 15.5 | 27.7 | 21 | 10.5 |
| N-A06-S302 | 3/8" | 1/4" | 15.5 | 26.5 | 21 | 8 |
| N-A06-S303 | 3/8" | 3/8" | 15.5 | 27.7 | 21 | 10.5 |
| N-A06-S304 | 3/8" | 1/2" | 18.5 | 33.1 | 24 | 13 |
| N-A06-S404 | 1/2" | 1/2" | 18.5 | 33.1 | 24 | 13 |
90°雙外牙彎頭

| 型號 | 管牙 T1 | 管牙 T2 | L1 (mm) |
L2 (mm) |
SW (mm) |
ID (mm) |
|---|---|---|---|---|---|---|
| N-A02-L101 | 1/8" | 1/8" | 18 | 18.5 | 9.5 | 5.5 |
| N-A02-L202 | 1/4" | 1/4" | 23.5 | 23.5 | 13 | 8 |
| N-A02-L303 | 3/8" | 3/8" | 26.5 | 26.5 | 13 | 9 |
| N-A02-L404 | 1/2" | 1/2" | 31.2 | 31.2 | 17 | 13 |
90°雙內牙彎頭

| 型號 | 管牙 T | L (mm) |
HEX (mm) |
|---|---|---|---|
| N-A07-L101 | 1/8" | 14.5 | 14 |
| N-A07-L202 | 1/4" | 17.5 | 17 |
| N-A07-L303 | 3/8" | 18.5 | 21 |
| N-A07-L404 | 1/2" | 24.5 | 24 |








